CLB For Side Lifting
Working load limit* (WLL) 56000 kg
These container lifting lugs are supplied, and used, in sets of 4 and have a total lifting capacity of up to 56 tonne. The CLB lugs serve as flexible lashing points for the transportation of containers.
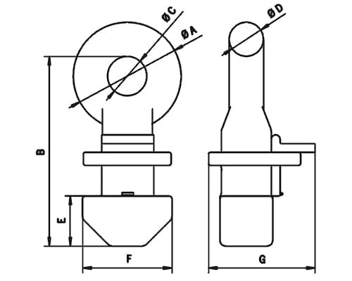
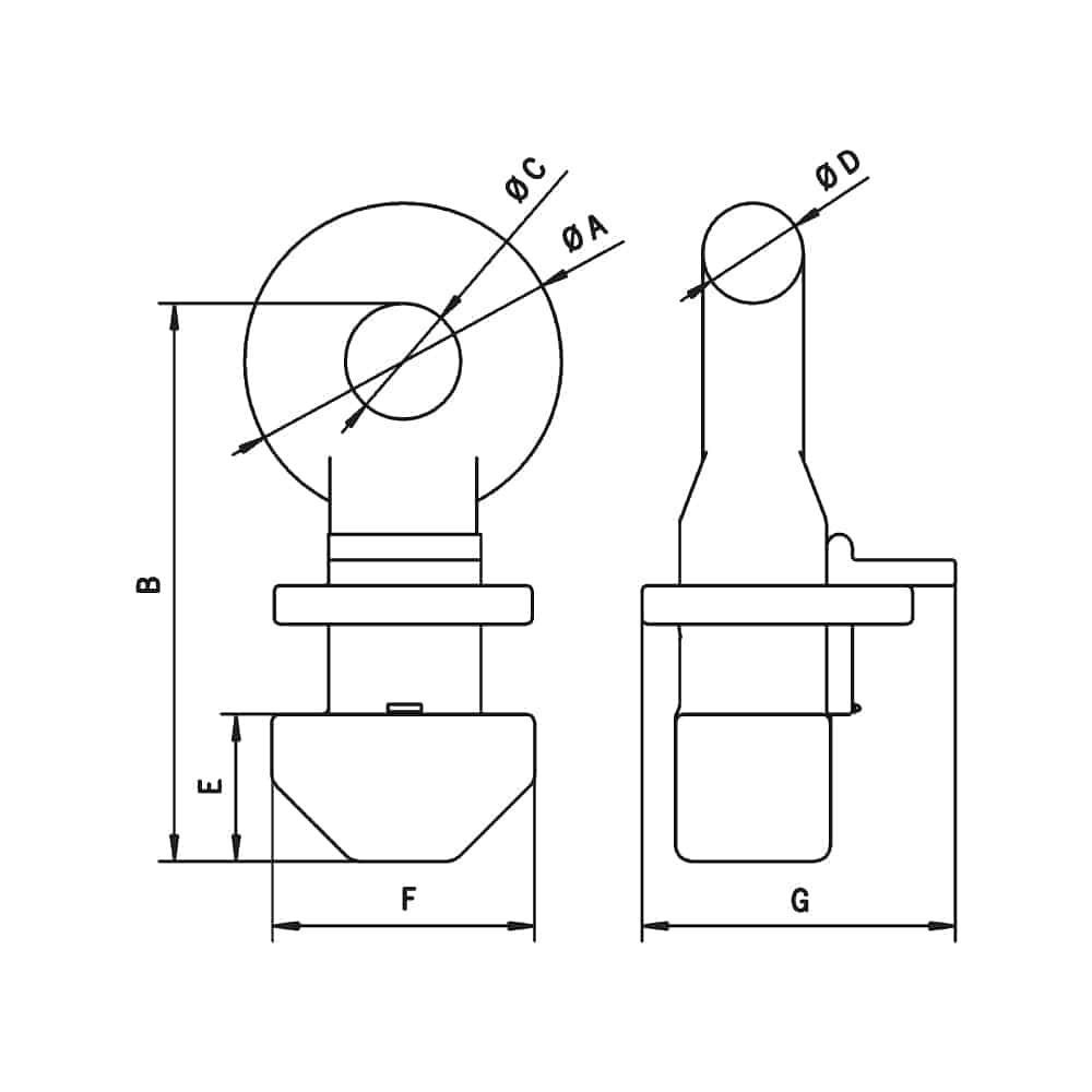
The CLB model is mounted horizontally to the side of the container at either the top or the bottom fixing holes. This model has a spring loaded bolt to prevent accidental release.
NB. NOT TO BE USED ON A 4 LEG CHAIN SLING.
Specifications:
| Model | WLL | Type of lifting | Sling angle from vertical | A | B | C | D | E | F | G | Weight |
| kg | mm | mm | mm | mm | mm | mm | mm | kg | |||
| Â CLB | 32000 40000 50000 | Â SIDE | 500 and 360 degree Vertical | Â 152 | Â 181 | Â 45 | Â 37 | Â 73 | Â 75 | Â 40 | Â 18 |
Reviews
There are no reviews yet.